对于云平台中的隔离问题,前面咱们用的策略一直都是VLAN,但是我们也说过这种策略的问题,VLAN只有12位,共4096个。当时设计的时候,看起来是够了,但是现在绝对不够用,怎么办呢?
一种方式是修改这个协议。这种方法往往不可行,因为当这个协议形成一定标准后,千千万万设备上跑的程序都要按这个规则来。现在说改就放,谁去挨个儿告诉这些程序呢?很显然,这是一项不可能的工程。
另一种方式就是扩展,在原来包的格式的基础上扩展出一个头,里面包含足够用于区分租户的ID,外层的包的格式尽量和传统的一样,依然兼容原来的格式。一旦遇到需要区分用户的地方,我们就用这个特殊的程序,来处理这个特殊的包的格式。
这个概念很像咱们[第22讲]讲过的隧道理论,还记得自驾游通过摆渡轮到海南岛的那个故事吗?在那一节,我们说过,扩展的包头主要是用于加密的,而我们现在需要的包头是要能够区分用户的。
底层的物理网络设备组成的网络我们称为Underlay网络,而用于虚拟机和云中的这些技术组成的网络称为Overlay网络,这是一种基于物理网络的虚拟化网络实现。这一节我们重点讲两个Overlay的网络技术。
第一个技术是GRE,全称Generic Routing Encapsulation,它是一种IP-over-IP的隧道技术。它将IP包封装在GRE包里,外面加上IP头,在隧道的一端封装数据包,并在通路上进行传输,到另外一端的时候解封装。你可以认为Tunnel是一个虚拟的、点对点的连接。

从这个图中可以看到,在GRE头中,前32位是一定会有的,后面的都是可选的。在前4位标识位里面,有标识后面到底有没有可选项?这里面有个很重要的key字段,是一个32位的字段,里面存放的往往就是用于区分用户的Tunnel ID。32位,够任何云平台喝一壶的了!
下面的格式类型专门用于网络虚拟化的GRE包头格式,称为NVGRE,也给网络ID号24位,也完全够用了。
除此之外,GRE还需要有一个地方来封装和解封装GRE的包,这个地方往往是路由器或者有路由功能的Linux机器。
使用GRE隧道,传输的过程就像下面这张图。这里面有两个网段、两个路由器,中间要通过GRE隧道进行通信。当隧道建立之后,会多出两个Tunnel端口,用于封包、解封包。

主机A在左边的网络,IP地址为192.168.1.102,它想要访问主机B,主机B在右边的网络,IP地址为192.168.2.115。于是发送一个包,源地址为192.168.1.102,目标地址为192.168.2.115。因为要跨网段访问,于是根据默认的default路由表规则,要发给默认的网关192.168.1.1,也即左边的路由器。
根据路由表,从左边的路由器,去192.168.2.0/24这个网段,应该走一条GRE的隧道,从隧道一端的网卡Tunnel0进入隧道。
在Tunnel隧道的端点进行包的封装,在内部的IP头之外加上GRE头。对于NVGRE来讲,是在MAC头之外加上GRE头,然后加上外部的IP地址,也即路由器的外网IP地址。源IP地址为172.17.10.10,目标IP地址为172.16.11.10,然后从E1的物理网卡发送到公共网络里。
在公共网络里面,沿着路由器一跳一跳地走,全部都按照外部的公网IP地址进行。
当网络包到达对端路由器的时候,也要到达对端的Tunnel0,然后开始解封装,将外层的IP头取下来,然后根据里面的网络包,根据路由表,从E3口转发出去到达服务器B。
从GRE的原理可以看出,GRE通过隧道的方式,很好地解决了VLAN ID不足的问题。但是,GRE技术本身还是存在一些不足之处。
首先是Tunnel的数量问题。GRE是一种点对点隧道,如果有三个网络,就需要在每两个网络之间建立一个隧道。如果网络数目增多,这样隧道的数目会呈指数性增长。

其次,GRE不支持组播,因此一个网络中的一个虚机发出一个广播帧后,GRE会将其广播到所有与该节点有隧道连接的节点。
另外一个问题是目前还是有很多防火墙和三层网络设备无法解析GRE,因此它们无法对GRE封装包做合适地过滤和负载均衡。
第二种Overlay的技术称为VXLAN。和三层外面再套三层的GRE不同,VXLAN则是从二层外面就套了一个VXLAN的头,这里面包含的VXLAN ID为24位,也够用了。在VXLAN头外面还封装了UDP、IP,以及外层的MAC头。

VXLAN作为扩展性协议,也需要一个地方对VXLAN的包进行封装和解封装,实现这个功能的点称为VTEP(VXLAN Tunnel Endpoint)。
VTEP相当于虚拟机网络的管家。每台物理机上都可以有一个VTEP。每个虚拟机启动的时候,都需要向这个VTEP管家注册,每个VTEP都知道自己上面注册了多少个虚拟机。当虚拟机要跨VTEP进行通信的时候,需要通过VTEP代理进行,由VTEP进行包的封装和解封装。
和GRE端到端的隧道不同,VXLAN不是点对点的,而是支持通过组播的来定位目标机器的,而非一定是这一端发出,另一端接收。
当一个VTEP启动的时候,它们都需要通过IGMP协议。加入一个组播组,就像加入一个邮件列表,或者加入一个微信群一样,所有发到这个邮件列表里面的邮件,或者发送到微信群里面的消息,大家都能收到。而当每个物理机上的虚拟机启动之后,VTEP就知道,有一个新的VM上线了,它归我管。

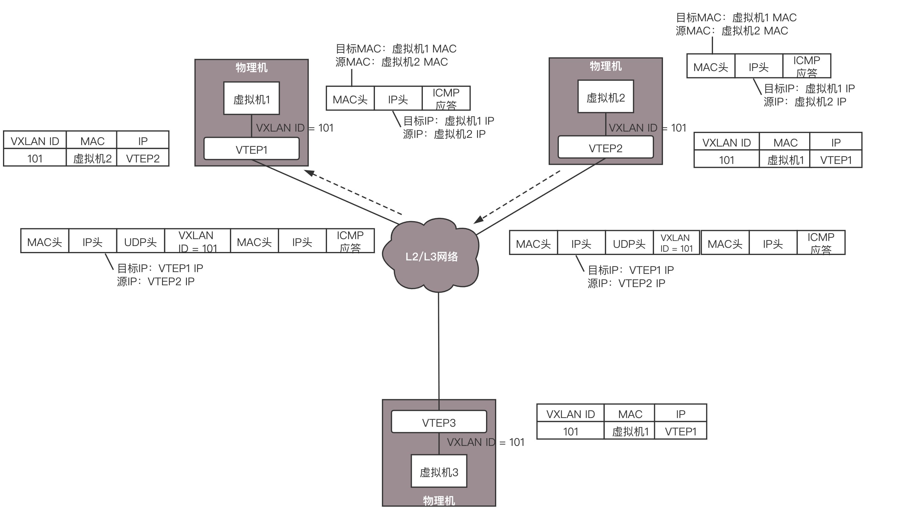
如图,虚拟机1、2、3属于云中同一个用户的虚拟机,因而需要分配相同的VXLAN ID=101。在云的界面上,就可以知道它们的IP地址,于是可以在虚拟机1上ping虚拟机2。
虚拟机1发现,它不知道虚拟机2的MAC地址,因而包没办法发出去,于是要发送ARP广播。

ARP请求到达VTEP1的时候,VTEP1知道,我这里有一台虚拟机,要访问一台不归我管的虚拟机,需要知道MAC地址,可是我不知道啊,这该咋办呢?
VTEP1想,我不是加入了一个微信群么?可以在里面@all 一下,问问虚拟机2归谁管。于是VTEP1将ARP请求封装在VXLAN里面,组播出去。
当然在群里面,VTEP2和VTEP3都收到了消息,因而都会解开VXLAN包看,里面是一个ARP。
VTEP3在本地广播了半天,没人回,都说虚拟机2不归自己管。
VTEP2在本地广播,虚拟机2回了,说虚拟机2归我管,MAC地址是这个。通过这次通信,VTEP2也学到了,虚拟机1归VTEP1管,以后要找虚拟机1,去找VTEP1就可以了。

VTEP2将ARP的回复封装在VXLAN里面,这次不用组播了,直接发回给VTEP1。
VTEP1解开VXLAN的包,发现是ARP的回复,于是发给虚拟机1。通过这次通信,VTEP1也学到了,虚拟机2归VTEP2管,以后找虚拟机2,去找VTEP2就可以了。
虚拟机1的ARP得到了回复,知道了虚拟机2的MAC地址,于是就可以发送包了。

虚拟机1发给虚拟机2的包到达VTEP1,它当然记得刚才学的东西,要找虚拟机2,就去VTEP2,于是将包封装在VXLAN里面,外层加上VTEP1和VTEP2的IP地址,发送出去。
网络包到达VTEP2之后,VTEP2解开VXLAN封装,将包转发给虚拟机2。
虚拟机2回复的包,到达VTEP2的时候,它当然也记得刚才学的东西,要找虚拟机1,就去VTEP1,于是将包封装在VXLAN里面,外层加上VTEP1和VTEP2的IP地址,也发送出去。
网络包到达VTEP1之后,VTEP1解开VXLAN封装,将包转发给虚拟机1。

有了GRE和VXLAN技术,我们就可以解决云计算中VLAN的限制了。那如何将这个技术融入云平台呢?
还记得将你宿舍里面的情况,所有东西都搬到一台物理机上那个故事吗?

虚拟机是你的电脑,路由器和DHCP Server相当于家用路由器或者寝室长的电脑,外网网口访问互联网,所有的电脑都通过内网网口连接到一个交换机br0上,虚拟机要想访问互联网,需要通过br0连到路由器上,然后通过路由器将请求NAT后转发到公网。
接下来的事情就惨了,你们宿舍闹矛盾了,你们要分成三个宿舍住,对应上面的图,你们寝室长,也即路由器单独在一台物理机上,其他的室友也即VM分别在两台物理机上。这下把一个完整的br0一刀三断,每个宿舍都是单独的一段。

可是只有你的寝室长有公网口可以上网,于是你偷偷在三个宿舍中间打了一个隧道,用网线通过隧道将三个宿舍的两个br0连接起来,让其他室友的电脑和你寝室长的电脑,看起来还是连到同一个br0上,其实中间是通过你隧道中的网线做了转发。
为什么要多一个br1这个虚拟交换机呢?主要通过br1这一层将虚拟机之间的互联和物理机机之间的互联分成两层来设计,中间隧道可以有各种挖法,GRE、VXLAN都可以。
使用了OpenvSwitch之后,br0可以使用OpenvSwitch的Tunnel功能和Flow功能。
OpenvSwitch支持三类隧道:GRE、VXLAN、IPsec_GRE。在使用OpenvSwitch的时候,虚拟交换机就相当于GRE和VXLAN封装的端点。
我们模拟创建一个如下的网络拓扑结构,来看隧道应该如何工作。

三台物理机,每台上都有两台虚拟机,分别属于两个不同的用户,因而VLAN tag都得打地不一样,这样才不能相互通信。但是不同物理机上的相同用户,是可以通过隧道相互通信的,因而通过GRE隧道可以连接到一起。
接下来,所有的Flow Table规则都设置在br1上,每个br1都有三个网卡,其中网卡1是对内的,网卡2和3是对外的。
下面我们具体来看Flow Table的设计。

1.Table 0是所有流量的入口,所有进入br1的流量,分为两种流量,一个是进入物理机的流量,一个是从物理机发出的流量。
从port 1进来的,都是发出去的流量,全部由Table 1处理。
ovs-ofctl add-flow br1 "hard_timeout=0 idle_timeout=0 priority=1 in_port=1 actions=resubmit(,1)"
从port 2、3进来的,都是进入物理机的流量,全部由Table 3处理。
ovs-ofctl add-flow br1 "hard_timeout=0 idle_timeout=0 priority=1 in_port=2 actions=resubmit(,3)"
ovs-ofctl add-flow br1 "hard_timeout=0 idle_timeout=0 priority=1 in_port=3 actions=resubmit(,3)"
如果都没匹配上,就默认丢弃。
ovs-ofctl add-flow br1 "hard_timeout=0 idle_timeout=0 priority=0 actions=drop"
2.Table 1用于处理所有出去的网络包,分为两种情况,一种是单播,一种是多播。
对于单播,由Table 20处理。
ovs-ofctl add-flow br1 "hard_timeout=0 idle_timeout=0 priority=1 table=1 dl_dst=00:00:00:00:00:00/01:00:00:00:00:00 actions=resubmit(,20)"
对于多播,由Table 21处理。
ovs-ofctl add-flow br1 "hard_timeout=0 idle_timeout=0 priority=1 table=1 dl_dst=01:00:00:00:00:00/01:00:00:00:00:00 actions=resubmit(,21)"
3.Table 2是紧接着Table1的,如果既不是单播,也不是多播,就默认丢弃。
ovs-ofctl add-flow br1 "hard_timeout=0 idle_timeout=0 priority=0 table=2 actions=drop"
4.Table 3用于处理所有进来的网络包,需要将隧道Tunnel ID转换为VLAN ID。
如果匹配不上Tunnel ID,就默认丢弃。
ovs-ofctl add-flow br1 "hard_timeout=0 idle_timeout=0 priority=0 table=3 actions=drop"
如果匹配上了Tunnel ID,就转换为相应的VLAN ID,然后跳到Table 10。
ovs-ofctl add-flow br1 "hard_timeout=0 idle_timeout=0 priority=1 table=3 tun_id=0x1 actions=mod_vlan_vid:1,resubmit(,10)"
ovs-ofctl add-flow br1 "hard_timeout=0 idle_timeout=0 priority=1 table=3 tun_id=0x2 actions=mod_vlan_vid:2,resubmit(,10)"
5.对于进来的包,Table 10会进行MAC地址学习。这是一个二层交换机应该做的事情,学习完了之后,再从port 1发出去。
ovs-ofctl add-flow br1 "hard_timeout=0 idle_timeout=0 priority=1 table=10 actions=learn(table=20,priority=1,hard_timeout=300,NXM_OF_VLAN_TCI[0..11],NXM_OF_ETH_DST[]=NXM_OF_ETH_SRC[],load:0->NXM_OF_VLAN_TCI[],load:NXM_NX_TUN_ID[]->NXM_NX_TUN_ID[],output:NXM_OF_IN_PORT[]),output:1"
Table 10是用来学习MAC地址的,学习的结果放在Table 20里面。Table20被称为MAC learning table。
NXM_OF_VLAN_TCI是VLAN tag。在MAC learning table中,每一个entry都仅仅是针对某一个VLAN来说的,不同VLAN的learning table是分开的。在学习结果的entry中,会标出这个entry是针对哪个VLAN的。
NXM_OF_ETH_DST[]=NXM_OF_ETH_SRC[]表示,当前包里面的MAC Source Address会被放在学习结果的entry里的dl_dst里。这是因为每个交换机都是通过进入的网络包来学习的。某个MAC从某个port进来,交换机就应该记住,以后发往这个MAC的包都要从这个port出去,因而源MAC地址就被放在了目标MAC地址里面,因为这是为了发送才这么做的。
load:0->NXM_OF_VLAN_TCI[]是说,在Table20中,将包从物理机发送出去的时候,VLAN tag设为0,所以学习完了之后,Table 20中会有actions=strip_vlan。
load:NXM_NX_TUN_ID[]->NXM_NX_TUN_ID[]的意思是,在Table 20中,将包从物理机发出去的时候,设置Tunnel ID,进来的时候是多少,发送的时候就是多少,所以学习完了之后,Table 20中会有set_tunnel。
output:NXM_OF_IN_PORT[]是发送给哪个port。例如是从port 2进来的,那学习完了之后,Table 20中会有output:2。

所以如图所示,通过左边的MAC地址学习规则,学习到的结果就像右边的一样,这个结果会被放在Table 20里面。
6.Table 20是MAC Address Learning Table。如果不为空,就按照规则处理;如果为空,就说明没有进行过MAC地址学习,只好进行广播了,因而要交给Table 21处理。
ovs-ofctl add-flow br1 "hard_timeout=0 idle_timeout=0 priority=0 table=20 actions=resubmit(,21)"
7.Table 21用于处理多播的包。
如果匹配不上VLAN ID,就默认丢弃。
ovs-ofctl add-flow br1 "hard_timeout=0 idle_timeout=0 priority=0 table=21 actions=drop"
如果匹配上了VLAN ID,就将VLAN ID转换为Tunnel ID,从两个网卡port 2和port 3都发出去,进行多播。
ovs-ofctl add-flow br1 "hard_timeout=0 idle_timeout=0 priority=1table=21dl_vlan=1 actions=strip_vlan,set_tunnel:0x1,output:2,output:3"
ovs-ofctl add-flow br1 "hard_timeout=0 idle_timeout=0 priority=1table=21dl_vlan=2 actions=strip_vlan,set_tunnel:0x2,output:2,output:3"
好了,这一节就到这里了,我们来总结一下。
要对不同用户的网络进行隔离,解决VLAN数目有限的问题,需要通过Overlay的方式,常用的有GRE和VXLAN。
GRE是一种点对点的隧道模式,VXLAN支持组播的隧道模式,它们都要在某个Tunnel Endpoint进行封装和解封装,来实现跨物理机的互通。
OpenvSwitch可以作为Tunnel Endpoint,通过设置流表的规则,将虚拟机网络和物理机网络进行隔离、转换。
最后,给你留两个思考题。
虽然VXLAN可以支持组播,但是如果虚拟机数目比较多,在Overlay网络里面,广播风暴问题依然会很严重,你能想到什么办法解决这个问题吗?
基于虚拟机的云比较复杂,而且虚拟机里面的网卡,到物理网络转换层次比较多,有一种比虚拟机更加轻量级的云的模式,你知道是什么吗?
我们的专栏更新到第28讲,不知你掌握得如何?每节课后我留的思考题,你都有没有认真思考,并在留言区写下答案呢?我会从已发布的文章中选出一批认真留言的同学,赠送学习奖励礼券和我整理的独家网络协议知识图谱。
欢迎你留言和我讨论。趣谈网络协议,我们下期见!